Shelly EM Mini Gen4

Device identification
Device name: Shelly EM Mini Gen4
Device model: S4EM-001PXCEU16
Device SSID: ShellyEMMiniG4-XXXXXXXX
BLE model ID: 0x1033
Short description
Shelly EM Mini Gen4 is a small form factor energy meter. Enhanced with all the gen3
firmware flexibility and also some of EM type Shelly devices, it provides professional integrators with additional options for end-customer solutions. It can work standalone in a local Wi-Fi network, or it can also be operated through cloud home automation services through MQTT, HTTP, and WebSocket. All inbound connections support TLS. The device is an improved version of Shelly PM Mini Gen3 with a more advanced processor and Zigbee connectivity.
Shelly EM Mini Gen4 can be accessed, set up, and monitored remotely by the User, as well as the Device can access and communicate with an automation system, as long as they are in the same network infrastructure.
The Device has an embedded Web Interface which can be used to monitor and control the device, as well as adjust its settings.
The device has multi-protocol wireless MCU which provide Zigbee and Bluetooth connectivity ensuring a secure connection.
This device is compatible with Matter.
Main features
Power Meter: Designed as a small form factor power meter, allowing you to monitor the power consumption of connected devices.
Enhanced Firmware Flexibility: Inherits the flexibility of gen4 firmware, providing professional integrators with additional options for end-customer solutions.
Compact size: EM Mini Gen4 can be connected in very tiny spaces, unreachable for other devices.
Improved Processor: Upgraded with an improved processor and Zigbee connectivity for enhanced performance.
Zigbee Connectivity: Zigbee is available for inclusion purposes, which may be useful during the setup process.
Remote Access: Can be accessed, set up, and monitored remotely by the user, as well as communicate with an automation system within the same network infrastructure.
Embedded Web Interface: Features an embedded web interface for monitoring, control, and adjustment of settings.
BLE Gateway: Bridge between your Shelly BLU devices and the wider Shelly ecosystem. It receives Bluetooth signals and sends them to the cloud or locally to another non-bluetooth device.
Zigbee Range extender for IoT devices: A Zigbee extender is employed to expand the reach of your Zigbee network by receiving your Zigbee signal, enhancing its strength, and then transmitting the enhanced signal over a wider area.
WiFi Range extender for IoT devices: A WiFi extender is employed to expand the reach of your WiFi network by receiving your current WiFi signal, enhancing its strength, and then transmitting the enhanced signal over a wider area.
Scripting: https://shelly-api-docs.shelly.cloud/gen2/Scripts/ShellyScriptLanguageFeatures/
Wide range of integrations: The device can be integrated with 3rd party home systems, documented HTTP API, MQTT(s), Web Hooks over HTTP and HTTPS, UDP
Use cases
Power Consumption Monitoring: The primary purpose is to monitor the power consumption of connected devices in real-time. This information can be valuable for understanding energy usage patterns and making informed decisions to reduce consumption.
Energy Efficiency Optimization: Identify energy-hungry appliances and optimize their usage to improve overall energy efficiency in your home or workspace.
Appliance Health Check: Keep track of the power usage of individual appliances to assess their health and performance over time. Sudden spikes or changes in power consumption may indicate issues with the appliance.
Cost Management: With the knowledge of power consumption, you can estimate the cost of running specific devices and manage your electricity expenses more effectively.
Space-Efficient Retrofitting: Integrate the device into standard electrical wall boxes, behind power sockets, light switches, or other locations with limited space.
Remote Monitoring: Like the Shelly PM Mini Gen3, the EM Mini Gen4 also supports remote access. This allows you to monitor power consumption even when you're away from home. The device shares similarities to Shelly EM Gen3
Simplified internal schematics

Device electrical interfaces
Inputs
2 line inputs on screw terminals: 1 L and 1 N
Outputs
2 load circuit outputs (bridged internally): 2 O
Connectivity
Wi-Fi
Bluetooth
Zigbee
Supported load types
Resistive (incandescent bulbs, heating devices)
Capacitive (LED light drivers, capacitor banks, electronic equipment, motor start capacitors)
Inductive (transformers, fans, refrigerators, air-conditioners)
User interface
Inputs
-
One (Control) button
Press and hold for 5 seconds to enable Device access point and Bluetooth connection.
Press and hold for 10 seconds to factory reset the Device.
Press 5 consecutive times to switch the Device from Matter firmware (default) to Zigbee.
Press 3 consecutive times to put the Device in Zigbee inclusion mode. The Device stays in this mode for 2 minutes and you can find it in the Home Automation platform through the Zigbee Hub.
Outputs
-
LED (monocolor) indication
AP (Access Point) enabled and Wi-Fi disabled:
1 secondON
/ 1 secondOFF
Wi-Fi enabled, but not connected to a Wi-Fi network:
1 secondON
/ 3 secondsOFF
Connected to a Wi-Fi network:
ConstantlyON
Cloud is enabled, but not connected:
1 secondON
/5 secondsOFF
Connected to Shelly Cloud:
ConstantlyON
OTA (Over the Air Update):
½ secON
/ ½ secondOFF
Button pressed and held for 5 seconds:
½ secondON
/ ½ secondOFF
Button presses and held for 10 seconds:
¼ secondON
/ ¼ secondOFF
The list above starts with the initial device status and the lowest priority. Every next state cancels the previous one.
Specifications
Quantity |
Value |
---|---|
Physical | |
Size (HxWxD): |
29x34x16 mm / 1.34x1.11x0.63 inch |
Weight: |
13 g / 0.46 oz |
Screw terminals max torque: |
0.4 Nm / 3.5 lbin |
Conductor cross section: |
0.2 to 2.5 mm² / 24 to 14 AWG (solid, stranded, and bootlace ferrules) |
Conductor stripped length: |
6 to 7 mm / 0.24 to 0.28 in |
Mounting: |
Wall console |
Shell material: |
Plastic |
Shell color: |
White |
Terminals color: |
Grey (Mouse Grey) |
Environmental | |
Ambient working temperature: |
-20 °C to 40 °C / -5 °F to 105 °F |
Humidity: |
30 % to 70 % RH |
Max. altitude: |
2000 m / 6562 ft |
Electrical | |
Power supply: |
|
Power consumption: |
< 1 W |
External protection: |
Tripping characteristic B or C, max. 16A max. rated current, min. 6 kA interrupting rating, energy limiting class 3 |
Sensors, meters | |
Voltmeter (AC): |
110-240 V~ 50/60 Hz |
Voltmeter accuracy: |
±1% |
Ammeter (AC): |
0 - 16A |
Ammeter accuracy: |
±1% |
Power and energy meters: |
|
Measurement data storage: |
At least 10 days of 1 min data resolution |
Data export: |
CSV for PQ recorded values JSON format export through RPC |
Output circuits ratings | |
Power measurement: |
Yes |
Max. measurement voltage: |
240 V~ |
Max. measurement current: |
16 A |
Max. measurement power: |
3840 W |
Radio | |
Wi-Fi | |
Protocol: |
802.11 b/g/n/ax |
RF band: |
2412 - 2472 МHz |
Max. RF power: |
< 20 dBm |
Range: |
Up to 30 m / 100 ft indoors and 50 m / 160 ft outdoors |
Bluetooth | |
Protocol: |
5.0 |
RF band: |
2402 - 2480 MHz |
Max. RF power: |
< 4 dBm |
Range: |
Up to 10 m / 33 ft indoors and 30 m / 100 ft outdoors |
Zigbee | |
Protocol: |
802.15.4 |
RF bands: |
2400 to 2483.5 MHz |
Max. RF power: |
< 20 dBm |
Range: |
Up to 100 m / 328 ft indoors and 300 meters / 984 ft outdoors |
Microcontroller unit | |
CPU: |
ESP-Shelly-C68F |
Flash: |
8MB |
Firmware capabilities | |
Schedules: |
20 |
Webhooks (URL actions): |
20 with 5 URLs per hook |
Scripting: |
Yes |
MQTT: |
Yes |
UDP: |
Yes |
Advanced schedules: |
Yes |
KVS (Key-Value Store): |
Yes |
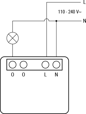
Basic wiring diagrams

Legend
Terminals |
Wires |
||
---|---|---|---|
O |
Load circuit output terminals (bridged internally) |
L |
Live (110-240 V) wire |
L |
Live (110-240 V) terminal |
N |
Neutral wire |
N |
Neutral terminal |
Shelly Smart Control
Components and APIs
Compliance
Shelly EM Mini Gen4 multilingual EU declaration of conformity 2025-07-21.pdf
Shelly EM Mimi Gen4 UK PSTI ACT Statement of compliance.pdf
Printed user guide
Shelly EM Mini Gen 4 multilingual printed user and safety guide.pdf