Shelly Motion 2

Device identification
Device name: Shelly Motion 2
Device model: SHMOS-02
Device SSID: shellymotion2-XXXXXX
Short description
Shelly Motion 2 (the Device) is a high-sensitivity, ultra-low power consumption Wi-Fi motion sensor, which also features light and temperature metering. The built-in light and temperature sensors provide additional opportunities for home or office automation. Shelly Motion 2 also has an integrated accelerometer for tamper protection and features vibration detection. The built-in 6500 mAh rechargeable Li-ion battery allows the Device to stay connected to the Internet in standby mode for up to 3 years, and in active transmission (approx. 6 hours/day motion detection) estimated between 12 and 18 months without recharging.
Main applications
Residential
MDU (Multi Dwelling Units - apartments, condominiums, hotels, etc.)
Light commercial (small office buildings, small retail/restaurant/gas station, etc.)
University/college
Integrations
Alexa

USB Type-C port
To supply power to the Device.
Can be used to recharge batteries inside the Device.
Connectivity
Wi-Fi
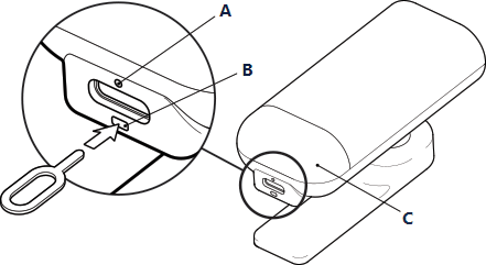
User interface

Inputs
Reset button (B)
Outputs
Charging indicator (A)
-
LED indication (C)
Blue: AP mode
Blue brief flash: Settings changed
Blue flashing: Firmware update
Red brief flash: Motion detected and reported
Red long flash: Error while performing firmware update.
Green brief flash: Unreported motion detection (the Device is not connected, or motion detection is disabled)
Red, green and blue flashing sequentially: Tamper detection or Device started
Cyan brief flash: Motion detection while in AP mode.
Specifications
Type |
Value |
|---|---|
Physical | |
Size (HxWxD): |
89.3x41.4x22.9 mm / 3.52x1.63x0.90 inch (without stand) |
Weight: |
|
Mounting: |
Wall mounting (indoor use only, use screws with a head diameter between 5-8 mm / 0.20-0.31 inch) |
Shell material: |
Plastic |
Color: |
White |
Environmental | |
Ambient temperature: |
-10 °C to 50 °C / 14 °F to 122 °F |
Humidity |
30 % to 70 % RH |
Electrical | |
Power supply, Batteries |
Li-ion 3.7 V / 6500 mAh |
Estimated battery life |
12-18 months (motion detection) |
Power supply, USB |
Type-C (power adapter and cable not included) |
Sensors | |
Temperature sensor: |
Yes |
Light sensor: |
Yes |
Motion sensor: |
Yes (detection range: 9 m / 30 ft) |
Radio | |
RF band: |
2401 - 2495 MHz |
Max. RF power: |
<20 dBm |
Wi-Fi protocol: |
802.11 b/g/n |
Wi-Fi Range: |
Up to 30 m / 100 ft indoors and 50 m / 160 ft outdoors |
MCU | |
CPU: |
SiLabs |
Flash: |
6 MB |
Firmware capabilities | |
Schedules: |
Yes (up to 20) |
Webhooks (URL actions): |
13 with 5 URLs per hook |
MQTT: |
Yes |
CoAP: |
Yes |
Troubleshooting
...
Web Interface guide
Read the Shelly Motion 2 web interface guide
Components and APIs
Printed User Guide
Download printed user guide - English, Deutsch, Italiano, Español, Português, Français
Compliance
Shelly Motion 2 multilingual EU declaration of conformity.pdf