
Device identification
Device name: CT 120A
Manufacturer model: CT313
Short description
CT 120A (The Device) is a split-core current transformer for the Shelly Pro 3EM energy meter.
Features
Snap-on, screwless mounting system
Connector to Shelly Pro 3EM
2-pin MX3.0-2x1Y connector
Safety features
Secondary winding high voltage protection
Specifications
Type |
Value |
|---|---|
Physical | |
Size (HxWxD): |
45x40x36 ±0.5 mm / 1.77x1.57x1.42 ±0.02 in (without the cable) |
Weight: |
75 ±1 g / 2.65 ±0.05 oz (with the cable) |
Conductor aperture: |
Ø15 mm / Ø0.6 in |
Core: |
Ferite |
Shell material: |
Plastic |
Color: |
White |
Environmental | |
Ambient temperature: |
-10 °C to 50 °C / 14 °F to 122 °F |
Humidity: |
0 % to 80 % RH |
Max. altitude: |
2000 m / 6562 ft |
Electrical | |
Primary/secondary current ratio: |
3000/1 |
Rated max. primary current: |
120 A |
Electrical strength: |
3000 VAC, 60 sec |
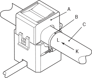
Installation

Legend
A |
Shelly CT 120A |
B |
Cable tie (another one on the opposite side) |
C |
Primary conductor |
Compliance
Declaration of conformity