
Device identification
Device name: Shelly Plus Wall Dimmer
Device model: SNDM-0013US
Device SSID: ShellyPlusWDUS-XXXXXX
Short description
Shelly Plus Wall Dimmer (The Device) can switch on/off and vary the brightness of compatible dimmable lights. It can be easily wired in the place of a standard US light switch. Enhanced with all the gen2 firmware flexibility, it provides professional integrators with additional options for end customer solutions. It can work standalone in a local Wi-Fi network, or it can also be operated through cloud home automation services.
Shelly Plus Wall Dimmer can be accessed, set up and monitored remotely from any place where the User has internet connectivity, as long as the device is connected to a Wi-Fi router and the Internet.
The Device has an embedded Web Interface which can be used to monitor and control the device, as well as adjust its settings.
Features
Night mode
Weekly schedules
Auto on/off timers
Main applications
Residential
MDU (Multi Dwelling Units - apartments, condominiums, hotels, etc.)
Light commercial (small office buildings, small retail/restaurant/gas station, etc.)
Government/municipal
University/college
Integrations
Google
Amazon
Samsung SmartThings
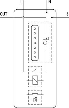
Simplified internal schematics

Device electrical interfaces
Inputs
2 line wires: 1 black L and 1 white N
1 green ⏚ (Ground) wire
Output
1 red OUT wire
Connectivity
Wi-Fi
Bluetooth
Supported load types
Incandescent lights
Dimmable only LED lights
Dimmable only CFL
User interface
Inputs
-
One power button with LED indication:
Press to turn on/off the lights.
Press and hold for 5 sec to activate Device AP.
Press and hold for 10 sec to factory reset the Device.
-
One slider with brightness LED indication:
Slide up to increase the lights brightness.
Slide down to decrease the light brightness.
Outputs
-
Power button LED indication:
-
Blue Wi-Fi LED*:
AP (Access Point) enabled and Wi-Fi disabled:
Blue light flashing¹.Wi-Fi enabled, but not connected:
Blue light flashing slowly².Wi-Fi connected and Cloud disabled or Cloud connected:
Steady blue light.Wi-Fi connected and Cloud enabled, but not connected:
Blue light flashing very slowly³.Power button pressed and held for 5 sec:
Blue light flashing quickly⁴.Power button pressed and held for 10 sec:
Blue light flashing very quickly⁵.OTA:
Blue light flashing quickly⁴.
-
White Power LED** (while the lights are turned on):
AP (Access Point) enabled and Wi-Fi disabled:
White light flashing¹.Wi-Fi enabled, but not connected:
White light flashing slowly².Wi-Fi connected and Cloud disabled or Cloud connected:
Steady white light.Wi-Fi connected and Cloud enabled, but not connected:
White light flashing very slowly³.Power button pressed and held for 5 sec:
White light flashing quickly⁴.Power button pressed and held for 10 sec:
White light flashing very quickly⁵.OTA:
White light flashing quickly⁴.
-
-
Brightness LED indication:
A single white dot is lit, when the lights are turned off. Each position from the bottom up represents 14% increase of the brightness (84-100% for the top dot).
A vertical bar of white dots is lit, when the lights are turned on. Each lit dot represents 14% increase of the brightness (84-100% for the top dot).
* Blue Wi-Fi LED can be enabled (default) or disabled by the user.
** White Power LED can be set by the user to: match the Device output (default), invert the Device output, to be always ON, or to be always OFF.
¹ 1 second ON / 1 second OFF
² 1 second ON / 3 seconds OFF
³ 1 second ON / 5 seconds OFF
⁴ ⅕ second ON / ½ second OFF
⁵ ⅕ second ON / ⅕ second OFF
Specifications
Type |
Value |
|---|---|
Physical | |
Size without face plate and wires (HxWxD): |
104x44x39 ±0.5 mm / 4.09 x 1.73 x 1.50 ±0.02 in |
Size with face plate and without wires (HxWxD): |
120x70x39 ±0.5 mm / 4.72 x 2.76 x 1.50 ±0.02 in |
Weight without face plate: |
105 g / 3.70 oz |
Weight with face plate: |
121 g / 4.28 oz |
Shell material: |
ABS |
Color: |
White |
Environmental | |
Ambient temperature: |
-20 °C to 40 °C / -5 °F to 105 °F |
Humidity |
30 % to 70 % RH |
Electrical | |
Power supply voltage AC: |
100 - 120 V, 50/60 Hz |
Power supply voltage DC: |
N/A |
Power consumption: |
< 3 W |
Output circuits ratings | |
Max load power at 120 VAC: |
|
Radio | |
RF band: |
2400 - 2495 MHz |
Max. RF power: |
<20 dBm |
Wi-Fi protocol: |
802.11 b/g/n |
Wi-Fi Range: |
Up to 30 m / 100 ft indoors and 50 m / 160 ft outdoors |
Bluetooth Protocol: |
4.2 |
Bluetooth Range: |
Up to 10 m / 33 ft indoors and 30 m / 100 ft outdoors |
MCU | |
CPU: |
ESP32 |
Flash: |
4 MB |
Firmware capabilities | |
Webhooks (URL actions): |
20 with 5 URLs per hook |
Scripting: |
Yes |
MQTT: |
Yes |
CoAP: |
No |
Wiring diagram

Troubleshooting
...