CT 400A

Identificazione del dispositivo
Nome del dispositivo: CT 400A
Modello del produttore: CT315
Breve descrizione
CT 400A (Il Dispositivo) è un trasformatore di corrente a nucleo diviso per il contatore di energia Shelly Pro 3EM-400.
Caratteristiche
Sistema di montaggio a scatto senza viti
Applicazione principale
Per l'uso con Shelly Pro 3EM-400
Connettore per Shelly Pro 3EM-400
Connettore 2 pin MX3.0-2x1Y
Specifiche
Tipo |
Valore |
|---|---|
Fisiche | |
Dimensioni (AxLxP): |
84x54x48 ±0,5 mm / 3,31x2,13x1,89 ±0,02 in (senza cavo) |
Peso: |
290 ±1 g / 10,23 ±0,05 oz (con cavo) |
Apertura del conduttore: |
Ø35 mm / 1,38 in |
Nucleo: |
Ferrite |
Materiale della scocca: |
Plastica |
Colore: |
Bianco |
Ambientali | |
Temperatura ambiente: |
-10 °C a 50 °C / 14 °F a 122 °F |
Umidità: |
0 % a 80 % UR |
Altitudine massima: |
2000 m / 6562 ft |
Elettriche | |
Rapporto corrente primaria/secondaria: |
3000/1 |
Corrente primaria massima nominale: |
400 A |
Resistenza elettrica: |
3000 VAC, 60 sec |
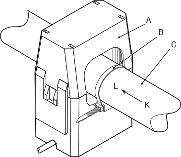
Installazione

Legenda
A |
Shelly CT400A |
B |
Fascetta (un'altra sul lato opposto) |
C |
Conduttore primario |
Conformità
Dichiarazione di conformità